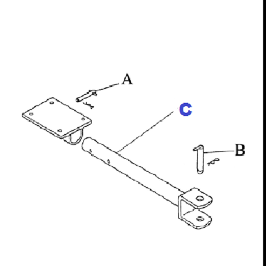
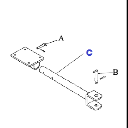
SFDB-4145 DRAW BAR 3-POINT
SOUTHERN FARM EQUIPMENT
$64.95
Drawbar
Fits Yanmar: 2500, 2610, 2620, 2820, 3000, 3110, 3220, 3810, 4220
Repl. 194145-75210
(C on Diagram)














